米其林 2026 新品登場!Primacy 5/Pilot Sport 5 energy系列滿足電動與油電混合車需求
2026/04/13

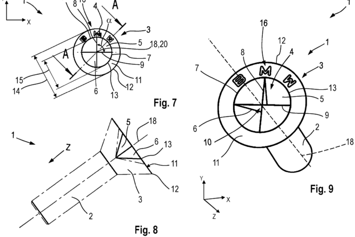
撇除電動車,燃油車的汽車維修與保養極為普遍,原廠也持續簡化維修複雜度,但BMW似乎正在朝相反的方向走。根據外媒指出,BMW似乎提交了一份專利圖,圖中的螺絲並非常見的樣式,而是以自家廠徽所造的,面部呈現BMW四分格,且有深有淺。

這很明顯就是為了防盜所使用,必須使用特殊工具才能拆裝,對於外廠技師或是車主想自行維修時,就得好好煩惱如何取得工具,原廠也在專利文件中明確指出,這是為了防止沒有經過授權,使用一般工具拆裝,也就是說大概率是不想將維修權利放出外廠。

而這樣的特殊螺絲,只會提高維修難度,國外已經有許多車迷表示不買帳,因為他們有很大比例是自行維修,畢竟國外人工費用不便宜,試想只是簡單的更換機油,爬進車底看到這個螺絲時會有多沮喪。不過也有人認為,若BMW開始使用新型螺絲,那市面上肯定很快就會有特工流出,這也不是太過複雜的技術。

當然這些螺絲還無法確定是否投入生產,汽車品牌很多的專利申請,其實大多止於草稿圖而已,該款螺絲也是在2024年6月提交,在今年12月公開,原廠並沒有實際讓它成為固鎖件,它就僅僅只是草圖而已。

至於防盜螺絲,如今不少汽機車都有改裝的可以選擇,目的是為了減少被盜的機會,然而這些所謂防盜的功能,其實也只是另外一種工具便能拆裝,對有技術而言的人來說,要盜走依舊不會太難,比較難的是臨時需要維修,店家不一定會有特工…

Toyota GR Supra雙生車也躲不過將停產!BMW推出Z4 Final Edition最終版